客服热线:
18391752892
我的进货单
0
平台首页
|
手机版
|
二维码
|
客服中心
|
帮助中心
反馈意见
联系我们
VIP服务
|
VIP
会员服务
建站服务
在线升级
联系我们
网站地图
特色频道
金融学院
|
区块链
|
行情快递
|
BrokerShow
|
人才
|
外汇问答
|
交易家
|
交易图赏
|
外汇平台
|
交易视频
|
资料下载
|
外汇EA商城
|
外汇课程
|
投资圈
|
外汇资讯
|
期货
|
顺水鱼EA
|
外汇交易商
扩展专区
排名推广
|
积分商城
|
黄金广告
|
意见反馈
网站地图
|
网站公告
|
RSS订阅
用户专区
用户中心
|
发布货源
|
发布采购
|
发布展会
常见问题
|
VIP会员
外汇资讯
首页
商机
外汇EA商城
金融学院
区块链
外汇交易商
外汇平台
期货
BrokerShow
资讯
全部资讯
外汇资讯
外汇市场
美元
黄金
原油
央行
股市
新闻热点
期货市场
理财
科技前沿
投资圈
交易视频
当前位置: >
顺水的鱼MT4外汇EA趋势对冲马丁延迟套利指标智能交易系统
>
外汇资讯
>
正在搜索: 套
套
相关的搜索结果
找到
12865
条
今年北京检察机关将严厉打击非法集资、
套
路贷|非法集资_顺水财经_顺水网
【金融315,我们帮你维权】近来,ETC纠纷、信用卡盗刷、银行征信、保险理赔难等问题困扰着金融消费者,投诉多石沉大海、维权更举步维艰,新浪金融曝光台将履行媒体监督职责,帮助消费者解决金融纠纷。【黑猫投诉…
2020-01-17 01:06
类目:
原油
BSV一夜翻倍有人赚了三
套
房 全网爆仓1.23亿美金|BSV_顺水财经_顺水网
“今天,诞生了好多有钱人。”1月14日晚11点,在一个BSV核心群里,一位群员激动地分享着自己的成功。据Coinmarketcap平台数据,BSV自1月10日下午7点开始直线拉升,尽管期间出现了短暂的震荡,但并没有阻挡上升的…
2020-01-17 01:05
类目:
原油
置顶
墨西哥2020年原油出口的
套
保价位为每桶49美元|原油_顺水财经_顺水网
海外动态1月3日,墨西哥财政部宣布,已对该国2020年原油出口收入进行套期保值,套期保值的平均价位为每桶49美元。然而,墨西哥财政部并没有披露此次套期保值具体覆盖的原油总量,也没有披露该项目花费的金额。近…
2020-01-17 01:03
类目:
原油
置顶
1.16黄金原油在线指导,
套
单必看,周收益率达137%-顺水财经网
1.16黄金原油在线指导,套单必看,周收益率达137%文 / 陈一晗2020-01-16 02:20:49来源:24K99文/陈一晗,财经领域时评人,从事金融类工作已数年,拥有全国贵金属高级交易师认证,含有丰富的大宗商品外汇实盘及客…
2020-01-16 05:01
类目:
黄金
置顶
1.16黄金原油如何操作,黄金原油操作策略附解
套
策略-顺水财经网
1.16黄金原油如何操作,黄金原油操作策略附解套策略文 / 陈召锡老师2020-01-16 02:18:04来源:24K99这个市场博弈,讲究的是一个学习参与的过程和后期长期稳健获利的结果。一旦产生亏损,要及时总结原因出现在哪里…
2020-01-16 05:01
类目:
黄金
置顶
莆田商人控股莎普爱思:
套
现新视界的路径 会复制到该公司吗? _ 东方财富网
一出资本操作,不但让“滴眼液神药”生产公司莎普爱思再度出现在公众视野,也让受让方,来自福建莆田林春光家族的资本套现路径再度受到关注。 南都药企发展与合规研究中心记者日前了解到,日前上海养和投资管理有…
2020-01-16 01:16
类目:
美元
置顶
信披违规收警示函前 大洋电机控股股东
套
现逾亿元 _ 东方财富网
大洋电机(002249)近日公告,广东证监局在现场检查时发现,公司因信披违规等问题收到监管警示函。而就在上周五,大洋电机控股股东、董事长鲁楚平减持3184.65万股,套现约1.24亿元。控股股东1月10日减持,公司1月11…
2020-01-16 01:16
类目:
美元
置顶
“包赚不赔”“能凑单”......听到这些
套
路请警惕 你可能遇到了“黑基金” _ 东方财富网
天上会掉馅饼吗?不会!你眼前的这个馅饼很可能是个陷阱。越是诱惑当前,越要绷紧脑子里的那根弦。“投资有风险,入市需谨慎”,这是投资不变的真经。年关将至,投资理财市场趋于活跃,为防止更多投资者踩坑“黑…
2020-01-16 01:14
类目:
美元
置顶
卫启豪:1.16黄金、高位徘徊,多空被
套
,备受煎熬?|回落_顺水财经_顺水网
原标题:卫启豪:1.16黄金、高位徘徊,多空被套,备受煎熬? 来源:24K99文能提笔安天下,武能上马定乾坤。心存谋略何人胜,古今英雄唯是君。作为投资人,一定要让自己变得专业,只有对金融市场专业了,才能清楚的…
2020-01-16 01:08
类目:
原油
置顶
午夜策略:黄金1555做空,原油58.7做空,在线解
套
|做空_顺水财经_顺水网
原标题:午夜策略:黄金1555做空,原油58.7做空,在线解套 来源:24K99外汇黄金独此一家,笔者会在午夜分析行情走势,午夜在线替你解套答疑!(午夜在线解套,厚德博财微信:hdbj898)黄金走势如图所示为黄金的日…
2020-01-16 01:08
类目:
原油
监管修订非银机构行政许可办法 强化政策配
套
衔接|保监会_顺水财经_顺水网
【金融315,我们帮你维权】近来,ETC纠纷、信用卡盗刷、银行征信、保险理赔难等问题困扰着金融消费者,投诉多石沉大海、维权更举步维艰,新浪金融曝光台将履行媒体监督职责,帮助消费者解决金融纠纷。【黑猫投诉…
2020-01-16 01:07
类目:
原油
置顶
玻璃的单边与跨期交易 分享几个小的
套
路!|玻璃_顺水财经_顺水网
来源:交易法门 群友提问:马老师,玻璃可以讲讲吗,玻璃价格也是处在高位,行业利润也是处在历史上比较高的位置,最近好像期现结构开始变化了,有点乱,想听老师分析分析!01 高利润与高价格问题一般情况下,高…
2020-01-16 01:04
类目:
原油
黄金油投资深
套
巨亏是常态,年头亏到年尾,还不转变思路?-顺水财经网
黄金油投资深套巨亏是常态,年头亏到年尾,还不转变思路?文 / A夏凝2020-01-15 00:21:12来源:24K99黄金油投资深套巨亏是常态,年头亏到年尾,还不转变思路? 做了好多年分析师,也是看多了好多人的实例,有人欢…
2020-01-15 05:01
类目:
黄金
钱曼姝:一不小心黄金被
套
怎么办?附上几个解
套
小技巧。-顺水财经网
钱曼姝:一不小心黄金被套怎么办?附上几个解套小技巧。文 / 钱曼姝2020-01-15 00:21:55来源:24K99钱曼姝:一不小心黄金被套怎么办?附上几个解套小技巧。 前言: 曼姝知道无论老师多少次如何强调止损的重要性…
2020-01-15 05:01
类目:
黄金
置顶
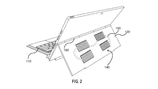
微软Surface新专利曝光:带有太阳能充电板的支架和键盘
套
_ 东方财富网
未来的微软Surface产品还会有哪些看点?一份微软2018年提交申请但近日才得到公开的专利显示,太阳能电池板居然被集成到了Surface Pro的支架和Type Cover键盘套的表面。其中巧思的地方在于,通过调整无极支架的角…
2020-01-15 01:22
类目:
美元
1月信贷调研:新增规模或超2.5万亿 专项债配
套
融资项目成“香饽饽” _ 东方财富网
【1月信贷调研:新增规模或超2.5万亿 专项债配套融资项目成“香饽饽”】光大证券首席银行业分析师王一峰称,综合早春效应、市场形势、政策导向以及银行资产负债配置策略的调整方向看,预计今年1月信贷或保持在2.5…
2020-01-15 01:12
类目:
股市
1.14黄金日日止盈赚不停,缘何?区间
套
利快准狠!|
套
利_顺水财经_顺水网
原标题:1.14黄金日日止盈赚不停,缘何?区间套利快准狠! 来源:24K99万卷书不如行万里路,行万里路不如阅人无数,阅人无数不如名家指路,名家指路不如梓妍同路!——我是苏梓妍,趋势为王,盈利至上!(联系方式…
2020-01-15 01:08
类目:
原油
钱曼姝:一不小心黄金被
套
怎么办?附上几个解
套
小技巧。_顺水财经_顺水网
原标题:钱曼姝:一不小心黄金被套怎么办?附上几个解套小技巧。 来源:24K99 钱曼姝:一不小心黄金被套怎么办?附上几个解套小技巧。 前言: 曼姝知道无论老师多少次如何强调止损的重要性,但是相信很多朋友,依…
2020-01-15 01:08
类目:
原油
天能重工拟开展钢材
套
期保值业务|天能重工_顺水财经_顺水网
原标题:天能重工拟开展钢材套期保值业务 来源:原创本报讯 青岛天能重工股份有限公司(简称天能重工)1月14日晚间发布公告称,公司拟使用自有资金开展钢材套期保值业务。公告称,公司生产所需主要原材料为钢材(…
2020-01-15 01:02
类目:
原油
置顶
1.14黄金跌落神坛,在线解
套
,扭亏为盈回本有望!-顺水财经网
1.14黄金跌落神坛,在线解套,扭亏为盈回本有望!文 / 袁怡芯2020-01-14 04:36:31来源:24K99不知不觉一年就过去了,你是否在投资市场上从来没有赚到第一桶金呢?很多人跟我反应:“老师,我是不是不适合做这个市…
2020-01-14 05:01
类目:
黄金
«上一页
1
2
…
17
18
19
20
21
22
23
…
643
644
下一页»
共12865条/644页
今日头条
1
2月20日外汇交易提醒_外汇动态报道_
汇通网讯——2月20日投资者需重点关注美联储1月货币政策会议…
2019-05-01 14:04
2
4月12日现货黄金、白银、原油、外汇
汇通网讯——4月12日亚洲时段,美元指数小幅走弱,稍微回吐了…
2019-05-01 14:04
3
英国或长期延迟脱欧,梅姨首相之位堪
汇通网讯——4月9日欧盟领导人将允许英国首相特雷莎梅再次推…
2019-05-01 14:04
4
INE原油收跌,OPEC+盛宴面临散伙;俄
汇通网讯——4月10日上海原油主力下跌0.67%。欧佩克主导的减…
2019-05-01 14:04
5
4月12日外汇交易策略(欧元、英镑、
汇通网讯——亚市盘初,欧元兑美元快速拉升逾30点,一度刷新…
2019-05-01 14:04
6
2月26日外汇交易提醒_外汇动态报道_
汇通网讯——2月26日投资者需重点关注美联储主席鲍威尔证词陈…
2019-05-01 14:04
7
纽市盘前:德拉基鸽声大作,欧元暴挫
汇通网讯——4月10日欧洲时段,美元指数创两日高点97.2235,…
2019-05-01 14:04
8
加密货币泡沫溢至新兴市场,印巴两国
汇通网讯——印度央行和巴基斯坦央行称加密货币交易是非法的…
2019-05-01 14:04
9
黄金交易提醒:黄金1330保卫战持续进
汇通网讯——早些时候因美国2月达拉斯联储商业活动指数远超市…
2019-05-01 14:03
10
INE原油创本周新低,无视中国进口大
汇通网讯——4月12日上海原油价格下跌,盘中创本周低点至472.…
2019-05-01 14:03
热门标签
[db:关键字]
标签
交易
信贷
外汇
交易额
万亿元
该公司
英国
瑞士法郎
美元
澳大利亚
加密
5月2日外汇交易提醒
Forex
人民币
内容
莫斯科
外汇市场
2月20日外汇交易提醒
按行业找资讯
外汇资讯
外汇市场
美元
黄金
原油
央行
股市
新闻热点
期货市场
理财
科技前沿
18391752892
网站客服
法定工作日
8:30-17:30
了解更多外汇信息
微信扫描关注
用户反馈
返回顶部